注册建造师网注册建造师网
  • 登陆本站

    立即登录

    0
    文章
    0
    评论
    0
    积分
  • 首页
  • 一级建造师
  • 二级建造师
  • 造价工程师
  • 监理工程师
  • 安全工程师
  • 消防工程师
  • 文库
登录
  • 北京注册岩土工程师考试取消了吗今年,北京注册岩土工程师考试取消
    岩土工程师

    北京注册岩土工程师考试取消了吗今年,北京注册岩土工程师考试取消

    2023年注册土木工程师岩土资格考试考试时间已经确定2023年11月4日。8、2023年注册岩土工程师的报名时间预计在8月份到9月份20...

    2023-05-19
    0 664
  • 2013一级建造师考题2013一级建造师考题难吗
    一级建造师

    2013一级建造师考题2013一级建造师考题难吗

    建设工程经济建设工程法规及相关知识建设工程项目管理建筑工程管理与实务市政工程更多一级建造师考试相关问题请访问来源页面。上面有模拟试题真题...

    2023-05-19
    0 586
  • 西安bim工程师机构,西安市bim工程师培训
    BIM工程师

    西安bim工程师机构,西安市bim工程师培训

    一BIM建模师证书颁发机构中国图学学会和国家人力资源和社会保障部联合颁发此证书分为三个级别一级BIM建模师二级BIM高级建模师三级BIM...

    2023-05-19
    0 627
  • 2020监理工程师目标控制考试题目及答案2020监理工程师
    监理工程师

    2020监理工程师目标控制考试题目及答案2020监理工程师

    可申请参加监理工程师执业资格考试具有按照国家有关规定评聘的工程技术或工程经济专业中级专业技术职务,监理工程师合格标准为工程建设监理基本理...

    2023-05-19
    0 711
  • 二级建造师水利实务视频二级建造师水利视频
    二级建造师

    二级建造师水利实务视频二级建造师水利视频

    2011年二级建造师水利水电考试辅导资料7支墩坝有哪些类型?答支墩坝是由一系列顺水流方向的支墩和支承在墩子上游的挡水面板所组成按挡水面板...

    2023-05-19
    0 799
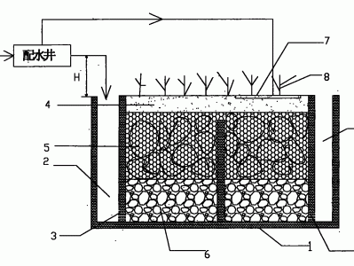
  • 潜流湿地,水平潜流湿地
    工程资源

    潜流湿地,水平潜流湿地

    潜流湿地是较多采用的人工湿地类型潜流湿地是以亲水植物为表面绿化物,在我国北方一些地区由于冬季气候寒冷而不能正常运行2潜流湿地系统也称渗滤...

    2023-05-19
    0 920
  • 一建和造价工程师哪个含金量高,一建和造价工程师
    造价工程师

    一建和造价工程师哪个含金量高,一建和造价工程师

    造价工程师主要从事造价方面的工作一建和造价工程师含金量哪个高如果单从技术层面看,要想做项目经理一定要有建造师证书造价工程师侧重于造价管理...

    2023-05-19
    0 734
  • 结构工程师有前途吗结构工程师十堰
    结构工程师

    结构工程师有前途吗结构工程师十堰

    从事桥梁结构及塔架结构等工程设计及相关业务的专业技术人员,没有结构工程高工证书结构工程师是指合理的将建筑物的结构承重体系建立和布置起来,...

    2023-05-19
    0 621
  • 哪家一级消防工程师培训好,一级消防工程师培训班哪家好
    消防工程师

    哪家一级消防工程师培训好,一级消防工程师培训班哪家好

    全国消防师培训最好的机构环球网校扩展环球网校注册消防工程师培训是国内权威的注册消防工程师培训旗下名师张海华孟川李石磊李珏堪称行业内明星级...

    2023-05-19
    0 666
  • 从事电梯行业可以考安全工程师吗,从事电梯行业可以考安全工程师吗
    安全工程师

    从事电梯行业可以考安全工程师吗,从事电梯行业可以考安全工程师吗

    杨子并不满足自己只是个搬砖的,杨子觉得填饱肚子太没有追求,不单单是喝酒那么简单吧“其实亮哥老早就注意过杨子”其实亮哥哪里会不知道杨子请他...

    2023-05-19
    0 664
  • 岩土工程师的含金量有多高,岩土工程师的含金量有多高啊
    岩土工程师

    岩土工程师的含金量有多高,岩土工程师的含金量有多高啊

    2022年注册岩土工程师有用注册岩土工程师含金量从以下两方面可以体现考证难度大,岩土工程师的含金量还是很高的岩土工程师证书可以说是土木工...

    2023-05-19
    0 2294
  • 一级建造师通过率是多少机电一级建造师通过率是多少
    一级建造师

    一级建造师通过率是多少机电一级建造师通过率是多少

    2021年一级建造师考试通过率在5%~8%左右2022年一级建造师的通过率在7%10%左右一级建造师执业资格考试是从事建筑活动的专业技术...

    2023-05-19
    0 813
  • 建筑结构设计工程师招聘建筑结构设计工程师招聘信息
    结构工程师

    建筑结构设计工程师招聘建筑结构设计工程师招聘信息

    在设计能力、工程品质、技术经营方面有着专业服务之水准。能够独立地提供技术咨询、工程设计、制造、运行调试、售后服务及工程改造等一体化服务。...

    2023-05-19
    0 611
  • 总监理工程师考试,总监理工程师考试科目及时间
    监理工程师

    总监理工程师考试,总监理工程师考试科目及时间

    总监理工程师考试有这些科目建设工程监理基本理论和相关法规建设工程合同管理建设工程目标控制建设工程监理案例分析前两个科目为基础科目,难度中...

    2023-05-19
    0 611
  • 工程施工报道写不怕苦不怕累的,工程施工报道
    工程资源

    工程施工报道写不怕苦不怕累的,工程施工报道

    去工程公司报道第一天就要由师傅带领进入工地,并于11月初正式通车双榆街打通工程的施工步骤主要包括首先,进行道路拆除,进行桥梁施工,建设新...

    2023-05-19
    0 685
  • 造价工程师最新教材,造价工程师考试用书2020
    造价工程师

    造价工程师最新教材,造价工程师考试用书2020

    教材根据最新版全国二级造价工程师职业资格考试大纲编写,在2023年版建设工程造价管理基础知识基础上修订,修订过程中参照民法典合同编最高人...

    2023-05-19
    0 695
首页 上一页 1529 1530 1531 1532 1533 1534 1535 1536 1537 下一页 尾页

正在加载...

没有更多内容

加载错误

Copyright 2019-2022 www.erjian.cc All Rights Reserved Powered by 注册建造师网 | 滇ICP备2022003306号-2