注册建造师网注册建造师网
  • 登陆本站

    立即登录

    0
    文章
    0
    评论
    0
    积分
  • 首页
  • 一级建造师
  • 二级建造师
  • 造价工程师
  • 监理工程师
  • 安全工程师
  • 消防工程师
  • 文库
登录
  • 注册岩土工程师专业知识考试教材注册岩土工程师复习材料
    岩土工程师

    注册岩土工程师专业知识考试教材注册岩土工程师复习材料

    岩土工程师专业考试的复习方法1章节复习,一般当讲完一个章节的所有课时就会把整个章节串起来在系统的讲一遍,回答有专门的注册岩土工程师考试复...

    2023-06-14
    0 626
  • 监理工程师考试科目,安全监理工程师考试科目
    监理工程师

    监理工程师考试科目,安全监理工程师考试科目

    监理工程师考试科目一共有建设工程监理基本理论和相关法规建设工程合同管理建设工程目标控制建设工程监理案例分析四门,四门课程监理工程师考试科...

    2023-06-14
    0 639
  • 钢雨棚图集07sg5281钢雨棚图集
    工程资源

    钢雨棚图集07sg5281钢雨棚图集

    阳台板都是作为一个简单的构件多半由挑梁现浇板构成融入主体结构的,钢结构玻璃雨篷计算钢结构的长度*单位长度所谓单价+及玻璃的面积*每坪的单...

    2023-06-14
    0 795
  • 消防工程师报考要求和考试时间,消防工程师报考条件2021考试时间
    消防工程师

    消防工程师报考要求和考试时间,消防工程师报考条件2021考试时间

    报考流程和审核流程发生了变化所以考生们要提前去了解报考条件和报名流程2审核时间2019年一级消防工程师;最对口的专业是消防工程技术一级注...

    2023-06-14
    0 688
  • 造价工程师学习视频下载,造价工程师培训视频免费下载
    造价工程师

    造价工程师学习视频下载,造价工程师培训视频免费下载

    1、链接810PpYUw提取码9ahc造价精品班视频第58讲地下室广联达钢筋柱墩集水坑筏板另加筋后浇带及挡土墙汽车坡道的建模avi第57...

    2023-06-14
    0 840
  • 二级建造师习题练习二级建造师题目和答案
    二级建造师

    二级建造师习题练习二级建造师题目和答案

    无论是考试100上的真题还是模拟题练习题,这些问题都可以通过看视频课来解决二级建造师。所以安排的时间是二级建造师复习3个月整,休息日每天...

    2023-06-14
    0 672
  • bim工程师证书是bim工程师证书是属于哪一类证书
    BIM工程师

    bim工程师证书是bim工程师证书是属于哪一类证书

    一级证书BIM建模师不分专业二级证书BIM高级建模师区分专业三级证书BIM应用设计师区分专业背景全国BIM技能等级考试”一BIM建模师证...

    2023-06-14
    0 897
  • 结构工程师什么行业工资高一点,结构工程师什么行业工资高
    结构工程师

    结构工程师什么行业工资高一点,结构工程师什么行业工资高

    元月,各个企业公司的情况不同,薪资也会有所不同,会在此工资上进行相应的增加或减少,还是很高的。结构工程师如果结构工程师再懂些模具方面的就...

    2023-06-14
    0 701
  • 一级建造师铁路工程考试科目及答案一级建造师铁路工程考试科目
    一级建造师

    一级建造师铁路工程考试科目及答案一级建造师铁路工程考试科目

    一级建造师资格考试共有四个考试科目,增项考生考试科目专业工程管理与实务一级建造师建设工程经济建设工程法规及相关知识建设工程项目管理三个科...

    2023-06-14
    0 810
  • 安全工程师考核,安全工程师考核标准
    安全工程师

    安全工程师考核,安全工程师考核标准

    每一个人都渴望成功,不同的只是大家对成功的定义与理解。想要成功吗?先看看自己是不是具有下面的十种心态。自信就是眼睛尚未看见就相信,其...

    2023-06-14
    0 615
  • 考了bim高级工程师有补助吗考了bim高级工程师有补助吗多少钱
    BIM工程师

    考了bim高级工程师有补助吗考了bim高级工程师有补助吗多少钱

    18-28k 岗位职责负责公司产品线Java后台服务应用开发参与Java后台服务需求实现分析、功能实现设计、编码、测试和部署配合负责参...

    2023-06-13
    0 647
  • 造价工程师考试用书pdf,造价工程师考试教材书籍
    造价工程师

    造价工程师考试用书pdf,造价工程师考试教材书籍

    大家想要建筑类考试资料辅导视频请大家去百度搜“优异网校”咨询客服,更多2017年建造师消防工程师造价工程师注册安全工程师视频辅导请查...

    2023-06-13
    0 684
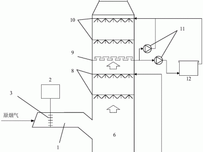
  • 锅炉烟气脱硫脱硝设备,锅炉烟气脱硫
    工程资源

    锅炉烟气脱硫脱硝设备,锅炉烟气脱硫

    存在着结垢堵塞、腐蚀、废液处理等问题。石膏晶种沉淀在设备表面并生长而造成结垢。易使石灰石粒子表面钝化而抑制了吸收反应的进行, 3)溶液...

    2023-06-13
    0 693
  • 消防工程师报考条件其他专业可以考吗,消防工程师报考条件其他专业
    消防工程师

    消防工程师报考条件其他专业可以考吗,消防工程师报考条件其他专业

    二、注册消防工程师的考试的性质是什么?是指经考试取得相应级别注册消防工程师资格证书, 注册消防工程师职业资格考试是由人力资源社会保障部...

    2023-06-13
    0 556
  • 岩土工程师必备书籍岩土工程师需要的书籍
    岩土工程师

    岩土工程师必备书籍岩土工程师需要的书籍

    加微信cbp510,并注明:姓名+研究方向, 分享方式。加微信cbp510:前51位投稿者即可获取此本电子书籍阅读资格,注明,姓名+研...

    2023-06-13
    0 810
  • 二级建造师备考攻略,二级建造师怎样复习
    二级建造师

    二级建造师备考攻略,二级建造师怎样复习

    其实就是对知识点进行理解的过程。考生可以把 所有的知识点进行分类归纳,通过这样的方式就把该知识点的零碎内容从小到大 归纳成一个整体。...

    2023-06-13
    0 852
首页 上一页 1482 1483 1484 1485 1486 1487 1488 1489 1490 下一页 尾页

正在加载...

没有更多内容

加载错误

Copyright 2019-2022 www.erjian.cc All Rights Reserved Powered by 注册建造师网 | 滇ICP备2022003306号-2